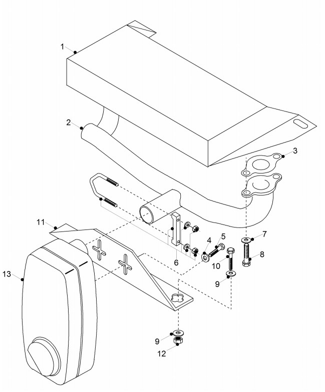
Auspuff E-180 Bj. 1991

Zeichnung von ECHO-Motorgeräte Rasentraktoren E-Serie E-Serie Auspuff E-180 Bj. 1991:

Klicken Sie auf diese Zeichnung

Sollten Sie Fragen zu einem Ersatzteil haben, können Sie uns gerne eine Ersatzteilanfrage stellen.

Hier finden Sie alle Ersatzteile von ECHO-Motorgeräte Rasentraktoren E-Serie E-Serie:
Artikel 1 - 6 von 6


Artikel 1 - 6 von 6