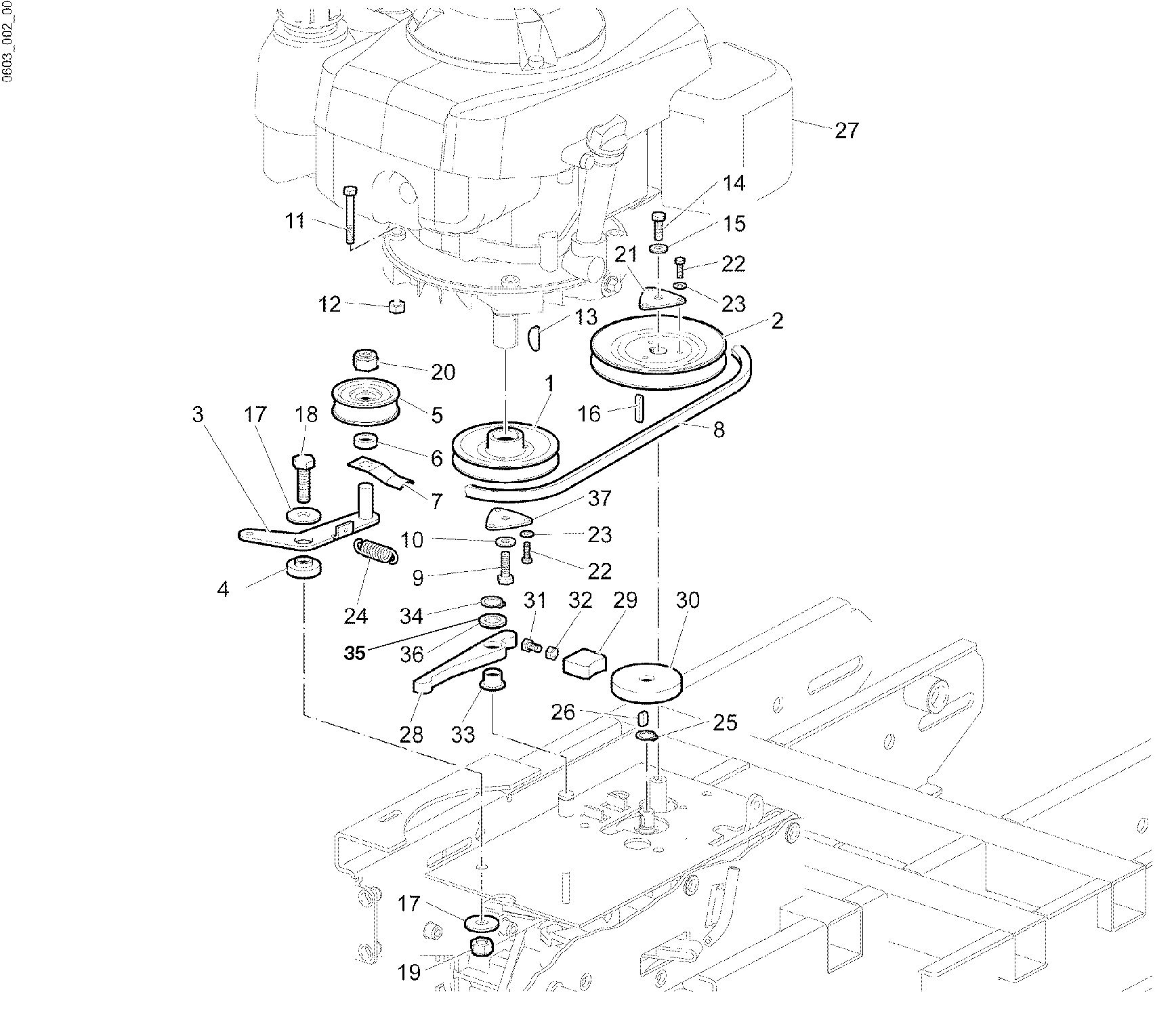
Antrieb

Zeichnung Bertolini Raupentransporter BTR 350 V (Fino/Until 2009):

Klicken Sie auf diese Zeichnung

Sollten Sie Fragen zu einem Ersatzteil haben, können Sie uns gerne eine Ersatzteilanfrage stellen.

Hier finden Sie alle Ersatzteile für Bertolini Raupentransporter BTR 350 V (Fino/Until 2009) aus der Zeichnung für Antrieb:
Artikel 1 - 20 von 32


Artikel 1 - 20 von 32