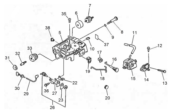
Ansaugkanal, Stopschalter

Zeichnung von ECHO Motorsägen CS-4600 Ansaugkanal, Stopschalter:

Klicken Sie auf diese Zeichnung

Sollten Sie Fragen zu einem Ersatzteil haben, können Sie uns gerne eine Ersatzteilanfrage stellen.

Hier finden Sie alle Ersatzteile von ECHO Motorsägen CS-4600:
Artikel 1 - 20 von 20


Artikel 1 - 20 von 20