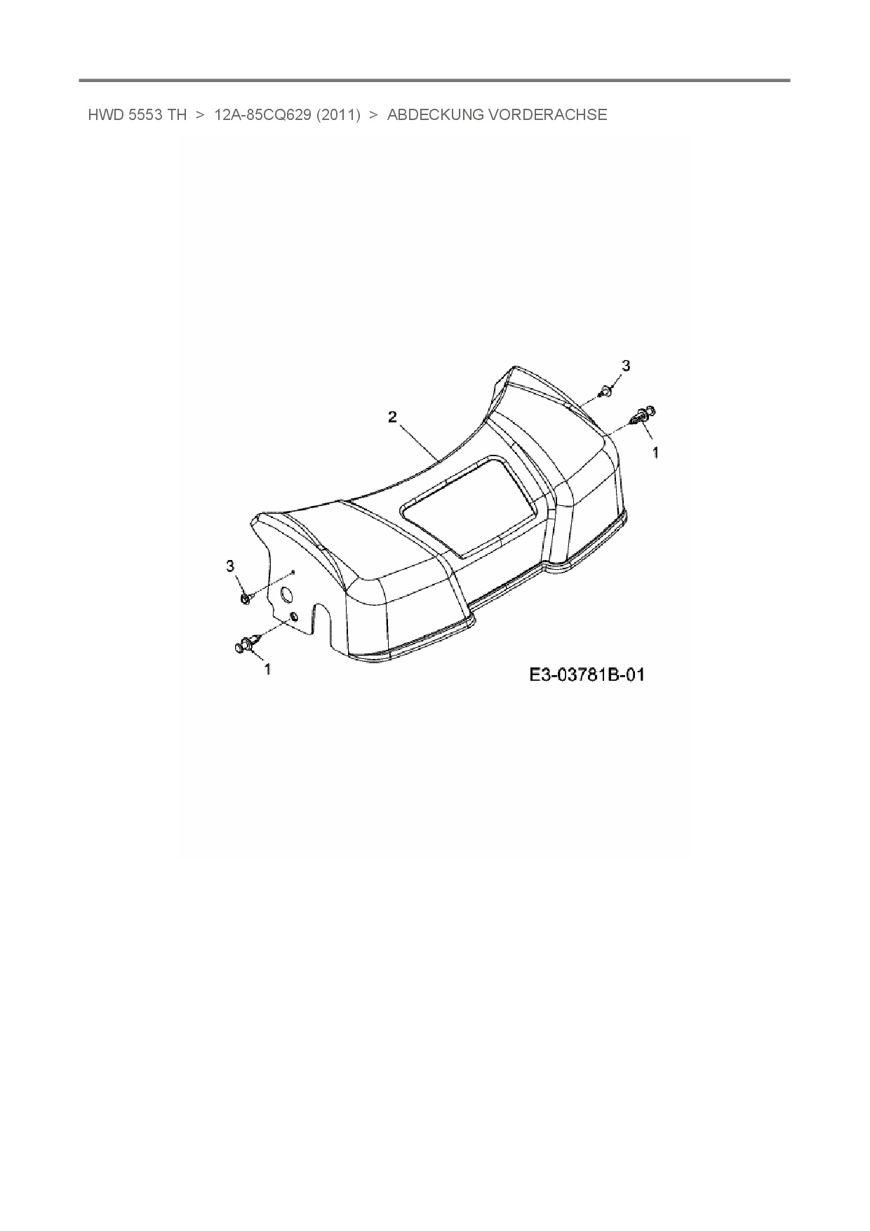
Abdeckung Vorderachse

Zeichnung für Mr. Gardener Motormäher mit Antrieb HWD 5553 TH mit der Geräte-Artikelnr. 12A-85CQ629 ab Baujahr 2011:

Zeichnung Abdeckung Vorderachse

Die Ersatzteil-Zeichnung für Motormäher mit Antrieb Mr. Gardener HWD 5553 TH als Download:
Download Ersatzteil-Zeichnung Mr. Gardener HWD 5553 TH Zeichnung Abdeckung Vorderachse (PDF-Format)
Download Ersatzteil-Zeichnung Mr. Gardener HWD 5553 TH Zeichnung Abdeckung Vorderachse (JPG-Format)

Sollten Sie Fragen zu einem Ersatzteil haben, können Sie uns gerne eine E-Mail (mit einem Foto vom Typenschild Ihres Gerätes) schreiben oder eine Ersatzteilanfrage stellen.

Ersatzteile für Motormäher mit Antrieb Mr. Gardener HWD 5553 TH aus der Zeichnung Abdeckung Vorderachse:
Artikel 1 - 3 von 3


Artikel 1 - 3 von 3